Art.22 Gerüstschrauben zn 22S/ 80x22 x 7,8
Art.22 Gerüstschrauben zn 22S/ 80x22 x 7,8
Produktnummer:
4502221013
Art.22 Gerüstschrauben zn 22S/ 80x22 x 7,8
EAN-Nr.:
4026418005983
Zur Produktbeschreibung
Produktinformationen "Art.22 Gerüstschrauben zn 22S/ 80x22 x 7,8"
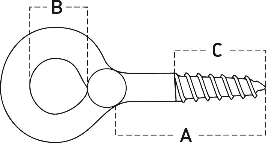
Gerüstschraube, Art. 22S
Hersteller: Hermann Lohmann GmbH & Co. KG, Handstr. 6-8, 45549 Sprockhövel, DE, +49233912160, info@hermann-lohmann.de
• Eisen, verzinkt
• Mit verschweißtem Auge
• Mit Holzschraubengewinde
Hersteller: Hermann Lohmann GmbH & Co. KG, Handstr. 6-8, 45549 Sprockhövel, DE, +49233912160, info@hermann-lohmann.de
Eigenschaften
| A: | 80 mm |
|---|---|
| B: | 22,0 mm |
| Ø: | 7,8 mm |
| C: | 45 mm |
| Markenname: | Neutral |
| Ursprungsland: | Deutschland |